童话镇怎么样?这里说的童话镇可不是歌曲,也不是美剧,更不是什么旅游景区,而是IDC商家童话镇(newtudou),这是国人商家,主要提供KVM VPS和独立服务器,VPS数据中心有香港、日本、新加坡、洛杉矶等,多为国际线路,此外还有国内直连线路,童话镇支持Paypal、支付宝付款。今天我们来测评下童话镇newtudou新加坡BGP中国大陆优化线路VPS性能,其是新加坡原生IP,支持解锁奈飞/TikTok流媒体。
童話鎮官网:客戶系統 – 童話鎮 (newtudou.com)
注意,注册时请提供真实资料,比如与IP地址一致,paypal账号需不是风险账号,否则会被判定订单欺诈!
童话镇LD新加坡數據中心Global Transit網絡VPS方案
| sgbgp.Pro.32.X0 | sgbgp.Pro.35.X1 本文测评机器 | sgbgp.Pro.36.X2 |
| ¥21.68CNY/mo | ¥57.95CNY/mo | ¥115.97CNY/mo |
| ¥108.79 設定費 | ¥108.79 設定費 | ¥108.79 設定費 |
| – 1 vCPU (AMD7402P) | – 1 vCPU (AMD7402P) | – 2 vCPU (AMD7402P) |
| – 512 MB RAM | – 1024 MB RAM | – 2048 MB RAM |
| – 10 GB SSD | – 20 GB SSD | – 50 GB SSD |
| – 1000 GB Bandwidth | – 2000 GB Bandwidth | – 4000 GB Bandwidth |
| – IPV4*1 (SG IP) | – IPV4*1 (SG IP) | – IPV4*1 (SG IP) |
| – 100Mbps Network | – 300Mbps Network | – 1000Mbps Network |
| – 優化中國大陸 | – 優化中國大陸 | – 優化中國大陸 |
| 立即購買 | 立即購買 | 立即購買 |
更多套餐和测评参见《童話鎮VPS:$0.99/月/512MB内存/10GB SSD空间/500GB流量/1Gbps端口/KVM/香港/日本/新加坡》、《newtudou怎么样?童話鎮香港CN2 VPS测评分享:国内延迟、丢包率、性能和带宽、路由去回程、解锁流媒体和TikTok检测》、《童话镇VPS怎么样?童话镇香港BGP大陆优化线路VPS简单测评分享》。
童话镇newtudou新加坡BGP中国大陆优化线路VPS测评分析:
CPU是AMD EPYC 7402P的,IO有276MB/s,支持解锁新加坡区奈飞和TikTok流媒体

FIO继续测试硬盘读写数据的情况:

iperf3跑欧美的节点,大致数据如下:

BGP.HE.NET看下是不是原生IP,测试确认新加坡原生IP:

80个节点的网络延迟情况:


VPS丢包率测试:

站长开的是这款新加坡VPS,是300Mbps带宽的,用speedtest.net在国内的节点跑一把,看看上行和下行的带宽能跑到什么样子?大致数据如下:

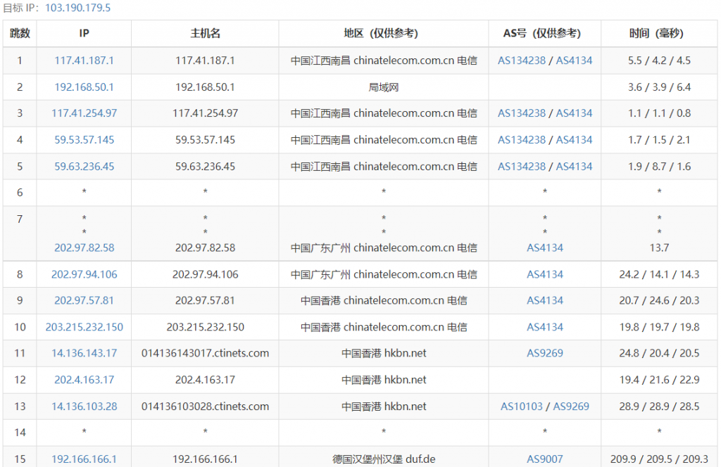
去程路由追踪测试
电信去程

联通去程

移动去程

回程路由追踪测试
Traceroute to China, Guangzhou CT (TCP Mode, Max 30 Hop)
============================================================
traceroute to 113.108.209.1 (113.108.209.1), 30 hops max, 32 byte packets
1 5.253.36.1 0.53 ms AS147001 Singapore, lvnet.lv
2 192.166.166.2 31.08 ms AS9007 Germany, Hamburg, duf.de
3 *
4 *
5 203.34.194.173 31.96 ms AS23764 China, Hong Kong, ChinaTelecom
6 69.194.166.33 32.52 ms AS23764 China, Hong Kong, ChinaTelecom
7 *
8 *
9 59.43.130.117 47.60 ms * China, Guangdong, Guangzhou, ChinaTelecom
10 202.97.43.81 37.95 ms AS4134 China, Guangdong, Guangzhou, ChinaTelecom
11 *
12 113.108.209.1 40.39 ms AS4134 China, Guangdong, Guangzhou, ChinaTelecom
Traceroute to China, Shanghai CT (TCP Mode, Max 30 Hop)
============================================================
traceroute to 180.153.28.5 (180.153.28.5), 30 hops max, 32 byte packets
1 5.253.36.1 0.36 ms AS147001 Singapore, lvnet.lv
2 192.166.166.2 30.91 ms AS9007 Germany, Hamburg, duf.de
3 *
4 *
5 203.34.194.173 31.99 ms AS23764 China, Hong Kong, ChinaTelecom
6 69.194.166.33 34.33 ms AS23764 China, Hong Kong, ChinaTelecom
7 203.22.178.82 58.22 ms * China, Hong Kong, ChinaTelecom
8 *
9 *
10 *
11 124.74.166.150 58.11 ms AS4812 China, Shanghai, ChinaTelecom
12 101.95.225.218 59.10 ms AS4811 China, Shanghai, ChinaTelecom
13 *
14 *
15 *
16 *
17 *
18 *
19 *
20 *
21 *
22 *
23 *
24 *
25 *
26 *
27 *
28 *
29 *
30 *
Traceroute to China, Beijing CT (TCP Mode, Max 30 Hop)
============================================================
traceroute to 180.149.128.9 (180.149.128.9), 30 hops max, 32 byte packets
1 5.253.36.1 0.47 ms AS147001 Singapore, lvnet.lv
2 192.166.166.2 30.88 ms AS9007 Germany, Hamburg, duf.de
3 *
4 *
5 203.34.194.173 32.08 ms AS23764 China, Hong Kong, ChinaTelecom
6 69.194.166.53 39.88 ms AS23764 China, Hong Kong, ChinaTelecom
7 203.22.178.98 70.27 ms * China, Hong Kong, ChinaTelecom
8 *
9 59.43.131.253 77.16 ms * China, Beijing, ChinaTelecom
10 *
11 *
12 *
13 *
14 *
15 *
16 *
17 *
18 *
19 *
20 *
21 *
22 *
23 *
24 *
25 *
26 *
27 *
28 *
29 *
30 *
Traceroute to China, Guangzhou CU (TCP Mode, Max 30 Hop)
============================================================
traceroute to 210.21.4.130 (210.21.4.130), 30 hops max, 32 byte packets
1 5.253.36.1 0.47 ms AS147001 Singapore, lvnet.lv
2 192.166.166.2 31.07 ms AS9007 Germany, Hamburg, duf.de
3 84.17.33.124 34.33 ms AS60068 CDN77.COM 骨干网, cdn77.com
4 203.131.242.153 35.23 ms AS2914 China, Hong Kong, ntt.com
5 *
6 129.250.2.50 73.09 ms AS2914 Japan, Tokyo, ntt.com
7 129.250.3.33 72.71 ms AS2914 Japan, Tokyo, ntt.com
8 219.158.42.5 137.84 ms AS4837 China, Guangdong, Guangzhou, ChinaUnicom
9 129.250.2.243 104.37 ms AS2914 Japan, Tokyo, ntt.com
10 219.158.3.17 129.07 ms AS4837 China, Guangdong, ChinaUnicom
11 120.83.0.234 132.70 ms AS17816 China, Guangdong, Guangzhou, ChinaUnicom
12 219.158.42.5 158.59 ms AS4837 China, Guangdong, Guangzhou, ChinaUnicom
13 219.158.4.109 173.84 ms AS4837 China, Guangdong, Guangzhou, ChinaUnicom
14 *
15 *
16 120.80.170.250 164.60 ms AS17622 China, Guangdong, Guangzhou, ChinaUnicom
17 *
18 *
19 *
20 *
21 *
22 *
23 *
24 *
25 *
26 *
27 *
28 *
29 *
30 *
Traceroute to China, Shanghai CU (TCP Mode, Max 30 Hop)
============================================================
traceroute to 58.247.8.158 (58.247.8.158), 30 hops max, 32 byte packets
1 5.253.36.1 0.70 ms AS147001 Singapore, lvnet.lv
2 192.166.166.2 30.89 ms AS9007 Germany, Hamburg, duf.de
3 *
4 *
5 203.34.194.173 32.01 ms AS23764 China, Hong Kong, ChinaTelecom
6 69.194.166.33 33.13 ms AS23764 China, Hong Kong, ChinaTelecom
7 203.22.178.86 58.29 ms * China, Hong Kong, ChinaTelecom
8 *
9 *
10 219.158.40.173 80.03 ms AS4837 China, Shanghai, ChinaUnicom
11 *
12 *
13 58.247.221.178 79.64 ms AS17621 China, Shanghai, ChinaUnicom
14 139.226.225.22 77.34 ms AS17621 China, Shanghai, ChinaUnicom
15 58.247.8.153 87.55 ms AS17621 China, Shanghai, ChinaUnicom
16 *
17 *
18 *
19 *
20 *
21 *
22 *
23 *
24 *
25 *
26 *
27 *
28 *
29 *
30 *
Traceroute to China, Beijing CU (TCP Mode, Max 30 Hop)
============================================================
traceroute to 123.125.99.1 (123.125.99.1), 30 hops max, 32 byte packets
1 5.253.36.1 0.52 ms AS147001 Singapore, lvnet.lv
2 192.166.166.2 30.97 ms AS9007 Germany, Hamburg, duf.de
3 *
4 *
5 203.34.194.173 31.93 ms AS23764 China, Hong Kong, ChinaTelecom
6 69.194.166.53 32.48 ms AS23764 China, Hong Kong, ChinaTelecom
7 203.22.178.98 70.00 ms * China, Hong Kong, ChinaTelecom
8 *
9 59.43.132.29 79.00 ms * China, Beijing, ChinaTelecom
10 202.97.42.13 68.68 ms AS4134 China, Beijing, ChinaTelecom
11 *
12 *
13 61.51.169.174 92.58 ms AS4808 China, Beijing, ChinaUnicom
14 125.33.186.26 93.62 ms AS4808 China, Beijing, ChinaUnicom
15 *
16 *
17 *
18 *
19 *
20 *
21 *
22 *
23 *
24 *
25 *
26 *
27 *
28 *
29 *
30 *
Traceroute to China, Guangzhou CM (TCP Mode, Max 30 Hop)
============================================================
traceroute to 120.196.212.25 (120.196.212.25), 30 hops max, 32 byte packets
1 5.253.36.1 0.37 ms AS147001 Singapore, lvnet.lv
2 192.166.166.2 30.84 ms AS9007 Germany, Hamburg, duf.de
3 *
4 *
5 203.34.194.173 31.73 ms AS23764 China, Hong Kong, ChinaTelecom
6 69.194.166.49 32.70 ms AS23764 China, Hong Kong, ChinaTelecom
7 *
8 *
9 59.43.130.117 42.71 ms * China, Guangdong, Guangzhou, ChinaTelecom
10 202.97.43.81 38.62 ms AS4134 China, Guangdong, Guangzhou, ChinaTelecom
11 *
12 *
13 221.183.90.213 66.91 ms AS9808 China, Guangdong, Guangzhou, ChinaMobile
14 *
15 211.136.204.65 50.46 ms AS56040 China, Guangdong, Guangzhou, ChinaMobile
16 211.136.196.234 52.97 ms AS56040 China, Guangdong, Guangzhou, ChinaMobile
17 211.139.180.110 50.40 ms AS56040 China, Guangdong, Guangzhou, ChinaMobile
18 *
19 *
20 120.196.212.25 49.91 ms AS56040 China, Guangdong, Guangzhou, ChinaMobile
Traceroute to China, Shanghai CM (TCP Mode, Max 30 Hop)
============================================================
traceroute to 221.183.55.22 (221.183.55.22), 30 hops max, 32 byte packets
1 5.253.36.1 0.48 ms AS147001 Singapore, lvnet.lv
2 192.166.166.2 30.96 ms AS9007 Germany, Hamburg, duf.de
3 *
4 *
5 203.34.194.173 32.51 ms AS23764 China, Hong Kong, ChinaTelecom
6 69.194.165.186 32.59 ms AS23764 China, Hong Kong, ChinaTelecom
7 *
8 *
9 59.43.16.181 44.76 ms * China, Guangdong, Guangzhou, ChinaTelecom
10 *
11 *
12 *
13 *
14 *
15 *
16 *
17 *
18 *
19 *
20 *
21 *
22 *
23 *
24 *
25 *
26 *
27 *
28 *
29 *
30 *
Traceroute to China, Beijing CM (TCP Mode, Max 30 Hop)
============================================================
traceroute to 211.136.25.153 (211.136.25.153), 30 hops max, 32 byte packets
1 5.253.36.1 0.40 ms AS147001 Singapore, lvnet.lv
2 192.166.166.2 30.81 ms AS9007 Germany, Hamburg, duf.de
3 *
4 *
5 203.34.194.173 32.61 ms AS23764 China, Hong Kong, ChinaTelecom
6 69.194.166.57 36.86 ms AS23764 China, Hong Kong, ChinaTelecom
7 203.22.178.98 70.11 ms * China, Hong Kong, ChinaTelecom
8 *
9 59.43.131.253 73.57 ms * China, Beijing, ChinaTelecom
10 *
11 *
12 *
13 221.183.94.25 79.95 ms AS9808 China, Beijing, ChinaMobile
14 *
15 *
16 211.136.67.166 75.09 ms AS56048 China, Beijing, ChinaMobile
17 211.136.63.66 82.57 ms AS56048 China, Beijing, ChinaMobile
18 *
19 *
20 *
21 211.136.25.153 74.16 ms AS56048 China, Beijing, ChinaMobile
Traceroute to China, Beijing Dr.Peng Network IDC Network (TCP Mode, Max 30 Hop)
============================================================
traceroute to 211.167.230.100 (211.167.230.100), 30 hops max, 32 byte packets
1 5.253.36.1 0.51 ms AS147001 Singapore, lvnet.lv
2 192.166.166.2 30.89 ms AS9007 Germany, Hamburg, duf.de
3 *
4 *
5 203.34.194.173 32.04 ms AS23764 China, Hong Kong, ChinaTelecom
6 69.194.165.186 32.44 ms AS23764 China, Hong Kong, ChinaTelecom
7 203.22.178.98 70.06 ms * China, Hong Kong, ChinaTelecom
8 *
9 59.43.132.9 74.28 ms * China, Beijing, ChinaTelecom
10 219.158.40.165 104.12 ms AS4837 China, Beijing, ChinaUnicom
11 *
12 *
13 219.158.13.89 104.61 ms AS4837 China, Beijing, ChinaUnicom
14 61.149.212.242 99.72 ms AS4808 China, Beijing, ChinaUnicom
15 202.96.13.178 102.65 ms AS4808 China, Beijing, ChinaUnicom
16 218.241.255.138 99.95 ms AS4808 China, Beijing, DRPENG
17 202.99.1.234 102.50 ms AS4808 China, Beijing, ChinaUnicom
18 211.167.230.100 101.94 ms AS17964 China, Beijing, DRPENG
----------------------------------------------------------------------------------
流媒体解锁测试:

Unixbench跑分测试VPS综合性能
