艾云双11活动正在进行中,我们可以前往艾云控制台2022年双十一活动专区进行选购,总共有6款机器,其中就有一款开设在欧洲法国巴黎机房的VPS-Standard-1111-Special-Pro-Paris,为了印证这款机器性能,站长入手了一台进行了简单VPS主机测评,主要看下其国内延迟、丢包率、性能和带宽、路由去回程、解锁流媒体和TikTok检测情况,以供大家选购参考。
艾云Aiyun Network官网:门户首页 – 艾云 (iaclouds.com)
艾云2022年双十一活动专区入口:购物车 – 艾云 (iaclouds.com)
艾云法国巴黎机房VPS(双11活动款)方案配置:
艾云法国巴黎机房VPS(双11活动款)主机测评:
VPS主机配置信息测试、支持解锁法国区奈飞、TikTok、磁盘IO达1672.5MB/s

三网Ping测试看下网络延迟

VPS丢包率测试

国内外节点测速

去程路由追踪测试
电信去程

联通去程

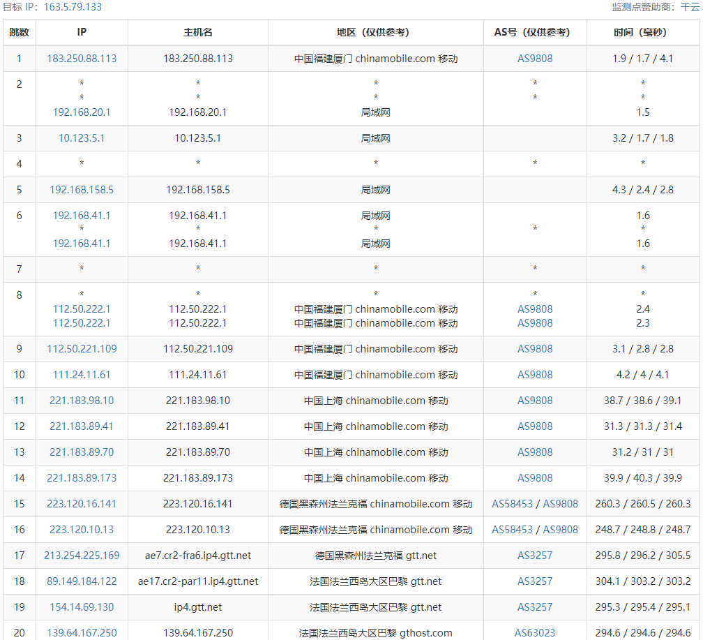
移动去程

回程路由追踪测试
Traceroute to China, Guangzhou CT (TCP Mode, Max 30 Hop)
============================================================
traceroute to 113.108.209.1 (113.108.209.1), 30 hops max, 32 byte packets
1 163.5.79.1 0.16 ms timestamp is error
2 139.64.167.249 0.64 ms timestamp is error
3 154.14.25.89 0.40 ms timestamp is error
4 89.149.128.98 7.34 ms timestamp is error
5 154.14.42.210 9.35 ms timestamp is error
6 202.97.70.38 280.86 ms timestamp is error
7 202.97.12.22 263.53 ms timestamp is error
8 202.97.90.161 264.39 ms timestamp is error
9 113.96.5.74 275.83 ms timestamp is error
10 113.108.209.1 263.92 ms timestamp is error
Traceroute to China, Shanghai CT (TCP Mode, Max 30 Hop)
============================================================
traceroute to 180.153.28.5 (180.153.28.5), 30 hops max, 32 byte packets
1 163.5.79.1 0.13 ms timestamp is error
2 139.64.167.249 0.67 ms timestamp is error
3 154.14.69.129 0.52 ms timestamp is error
4 89.149.128.98 7.49 ms timestamp is error
5 154.14.42.210 8.47 ms timestamp is error
6 *
7 *
8 *
9 61.152.24.249 259.55 ms timestamp is error
10 *
11 124.74.232.54 252.10 ms timestamp is error
12 *
13 *
14 *
15 *
16 *
17 *
18 *
19 *
20 *
21 *
22 *
23 *
24 *
25 *
26 *
27 *
28 *
29 *
30 *
Traceroute to China, Beijing CT (TCP Mode, Max 30 Hop)
============================================================
traceroute to 180.149.128.9 (180.149.128.9), 30 hops max, 32 byte packets
1 163.5.79.1 0.13 ms timestamp is error
2 139.64.167.249 0.36 ms timestamp is error
3 154.14.25.89 0.38 ms timestamp is error
4 89.149.128.98 6.95 ms timestamp is error
5 154.14.42.210 8.86 ms timestamp is error
6 *
7 202.97.12.113 236.24 ms timestamp is error
8 202.97.34.73 242.82 ms timestamp is error
9 36.110.247.54 242.59 ms timestamp is error
10 36.110.251.61 259.16 ms timestamp is error
11 *
12 *
13 *
14 *
15 *
16 *
17 *
18 *
19 *
20 *
21 *
22 *
23 *
24 *
25 *
26 *
27 *
28 *
29 *
30 *
Traceroute to China, Guangzhou CU (TCP Mode, Max 30 Hop)
============================================================
traceroute to 210.21.4.130 (210.21.4.130), 30 hops max, 32 byte packets
1 163.5.79.1 0.15 ms timestamp is error
2 139.64.167.249 0.47 ms timestamp is error
3 212.221.1.9 7.61 ms timestamp is error
4 213.200.116.225 10.01 ms timestamp is error
5 *
6 219.158.3.241 261.00 ms timestamp is error
7 219.158.4.105 257.60 ms timestamp is error
8 219.158.3.57 250.67 ms timestamp is error
9 112.89.0.62 281.49 ms timestamp is error
10 120.80.175.78 249.80 ms timestamp is error
11 *
12 *
13 *
14 *
15 *
16 *
17 *
18 *
19 *
20 *
21 *
22 *
23 *
24 *
25 *
26 *
27 *
28 *
29 *
30 *
Traceroute to China, Shanghai CU (TCP Mode, Max 30 Hop)
============================================================
traceroute to 58.247.8.158 (58.247.8.158), 30 hops max, 32 byte packets
1 163.5.79.1 0.18 ms timestamp is error
2 139.64.167.249 0.59 ms timestamp is error
3 154.14.69.129 0.77 ms timestamp is error
4 213.200.116.225 9.75 ms timestamp is error
5 *
6 219.158.3.237 274.78 ms timestamp is error
7 219.158.24.137 264.71 ms timestamp is error
8 *
9 *
10 *
11 139.226.228.46 266.12 ms timestamp is error
12 139.226.225.22 255.89 ms timestamp is error
13 58.247.8.153 324.29 ms timestamp is error
14 *
15 *
16 *
17 *
18 *
19 *
20 *
21 *
22 *
23 *
24 *
25 *
26 *
27 *
28 *
29 *
30 *
Traceroute to China, Beijing CU (TCP Mode, Max 30 Hop)
============================================================
traceroute to 123.125.99.1 (123.125.99.1), 30 hops max, 32 byte packets
1 163.5.79.1 0.22 ms timestamp is error
2 139.64.167.249 0.68 ms timestamp is error
3 212.221.1.9 0.49 ms timestamp is error
4 213.200.116.225 26.04 ms timestamp is error
5 *
6 219.158.14.77 293.22 ms timestamp is error
7 219.158.96.210 307.49 ms timestamp is error
8 219.158.8.113 257.30 ms timestamp is error
9 *
10 *
11 219.232.11.206 312.85 ms timestamp is error
12 *
13 *
14 *
15 *
16 *
17 *
18 *
19 *
20 *
21 *
22 *
23 *
24 *
25 *
26 *
27 *
28 *
29 *
30 *
Traceroute to China, Guangzhou CM (TCP Mode, Max 30 Hop)
============================================================
traceroute to 120.196.212.25 (120.196.212.25), 30 hops max, 32 byte packets
1 163.5.79.1 0.12 ms timestamp is error
2 139.64.167.249 0.35 ms timestamp is error
3 154.14.69.129 0.47 ms timestamp is error
4 89.149.133.26 0.93 ms timestamp is error
5 213.248.81.29 1.39 ms timestamp is error
6 62.115.125.118 1.55 ms timestamp is error
7 62.115.123.12 10.14 ms timestamp is error
8 62.115.114.91 10.27 ms timestamp is error
9 62.115.47.45 11.15 ms timestamp is error
10 223.120.10.241 11.71 ms timestamp is error
11 223.120.12.190 252.15 ms timestamp is error
12 *
13 *
14 221.176.24.57 232.97 ms timestamp is error
15 221.176.18.109 231.10 ms timestamp is error
16 111.24.4.253 278.69 ms timestamp is error
17 111.24.5.34 289.31 ms timestamp is error
18 *
19 211.136.196.214 241.13 ms timestamp is error
20 211.136.203.2 296.73 ms timestamp is error
21 211.139.180.106 304.11 ms timestamp is error
22 *
23 120.196.212.25 244.53 ms timestamp is error
Traceroute to China, Shanghai CM (TCP Mode, Max 30 Hop)
============================================================
traceroute to 221.183.55.22 (221.183.55.22), 30 hops max, 32 byte packets
1 163.5.79.1 0.14 ms timestamp is error
2 139.64.167.249 0.32 ms timestamp is error
3 154.14.69.129 0.53 ms timestamp is error
4 213.200.116.225 10.06 ms timestamp is error
5 213.254.225.170 10.48 ms timestamp is error
6 223.120.10.41 10.95 ms timestamp is error
7 *
8 *
9 *
10 *
11 *
12 *
13 *
14 *
15 *
16 *
17 *
18 *
19 *
20 *
21 *
22 *
23 *
24 *
25 *
26 *
27 *
28 *
29 *
30 *
Traceroute to China, Beijing CM (TCP Mode, Max 30 Hop)
============================================================
traceroute to 211.136.25.153 (211.136.25.153), 30 hops max, 32 byte packets
1 163.5.79.1 0.19 ms timestamp is error
2 139.64.167.249 0.56 ms timestamp is error
3 154.14.25.89 0.44 ms timestamp is error
4 89.149.181.102 147.53 ms timestamp is error
5 173.205.45.154 142.16 ms timestamp is error
6 223.120.6.217 141.96 ms timestamp is error
7 223.120.6.125 142.31 ms timestamp is error
8 *
9 221.183.46.254 249.10 ms timestamp is error
10 221.183.46.254 248.85 ms timestamp is error
11 111.24.2.245 252.02 ms timestamp is error
12 111.24.2.134 251.63 ms timestamp is error
13 *
14 *
15 211.136.63.66 254.04 ms timestamp is error
16 *
17 211.136.95.226 252.04 ms timestamp is error
18 211.136.25.153 254.08 ms timestamp is error
Traceroute to China, Beijing Dr.Peng Network IDC Network (TCP Mode, Max 30 Hop)
============================================================
traceroute to 211.167.230.100 (211.167.230.100), 30 hops max, 32 byte packets
1 163.5.79.1 0.17 ms timestamp is error
2 139.64.167.249 0.34 ms timestamp is error
3 154.14.25.89 0.88 ms timestamp is error
4 213.200.116.225 9.92 ms timestamp is error
5 *
6 219.158.98.37 261.07 ms timestamp is error
7 219.158.97.30 257.54 ms timestamp is error
8 *
9 219.158.7.225 322.59 ms timestamp is error
10 *
11 202.106.193.6 262.01 ms timestamp is error
12 61.149.212.242 284.83 ms timestamp is error
13 202.99.1.234 276.49 ms timestamp is error
14 218.241.255.138 317.92 ms timestamp is error
15 218.241.253.130 267.80 ms timestamp is error
16 211.167.230.100 270.22 ms timestamp is error
----------------------------------------------------------------------------------
其他流媒体解锁情况

UnixBench跑分看下VPS综合性能
